BMW zrobi śruby ze swoim logo. Nie wymienisz nic bez specjalnego klucza
Ktoś w BMW doszedł do wniosku, że klienci jeszcze nie są do końca obrabowani z gotówki, więc trzeba to jak najszybciej zmienić. Firma właśnie złożyła wniosek patentowy, w którym pokazuje, że nawet wymiana koła będzie metafizyką.

Istnienie niezależnych warsztatów jest solą w oku producentów samochodów, zwłaszcza w Europie, gdzie przepisy prawa pozwalają na serwisowanie auta poza ASO z zachowaniem prawa do gwarancji. Dlatego producenci wymyślają różne koncepcje, które zwiększają koszty naprawy, utrudniają je, bo dzięki temu jest większa szansa, że klient przyjedzie do sieci producenta. Gdyby nie europejskie przepisy antymonopolowe, to nie podłączylibyście komputera diagnostycznego do samochodu, jak ma to miejsce w USA. Jednak są pewne rzeczy, którymi można ograniczać konkurencję w białych rękawiczkach. Jedną z nich jest konieczność zakupu bardzo drogich i wyspecjalizowanych narzędzi do przeprowadzania napraw. Wiecie - specjalne klucze, blokady do rozrządu czy inne rozwiązania, które sprawiają, że warsztaty albo muszą zrezygnować z obsługi jakiegoś modelu albo muszą zakupić narzędzia. BMW zamierza wytoczyć ciężkie działa - specjalne śruby, których nie da się odkręcić bez specjalnych narzędzi.
Nowe śruby z logo BMW, bo wymiana części jest zbyt prosta
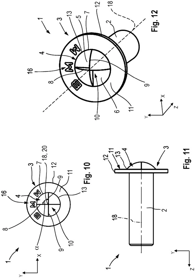
Producent złożył wniosek patentowy, w którym przewidział trzy rodzaje śrub, każda ma okrągła główkę, co już wyklucza użycie zwykłego klucza, a różni je sposób przylegania i kształt poniżej główki. Tak prezentują się na rysunkach patentowych:

Inna końcówka:

Dzieło szatana:

Wszystkie mają logo BMW i to jest kluczowe. W dwóch polach znajduje się miejsce, gdzie będzie wchodził nowy klucz. Nie ma tu żadnego imbusa, torxa, czy innego klasycznego rozwiązania. W patencie znalazło się zdanie, które powinno was naprowadzić na powód zmian: kształt wgłębień blokujących zapobiega odkręcaniu lub dokręcaniu śruby za pomocą typowych mechanizmów, np. przez osoby nieuprawnione. Powiedzą wam, że to kwestia bezpieczeństwa, że uchroni to wasze nowe BMW przed kradzieżami, ale to nieprawda. Tu chodzi o ochronę rozwiązań i ograniczenie możliwości naprawy przez niezależne warsztaty.
Śruby nie będą dotyczyły tylko kół, ale również innych elementów w kabinie samochodu, bo mają być stosowane również we wnętrzu. I tu się robi problem, bo oznacza to, że do każdej naprawy będzie potrzebne specjalistyczne narzędzie, które przez jakiś czas będzie sprzedawane wyłącznie przez BMW. I tak się robi pieniądze w tych niepewnych czasach.
Więcej ciekawostek przeczytasz w:







































