Tesla: nikt nie zrobi gorszej kierownicy niż my. BMW: potrzymaj mi bawarskie piwo
Skoro kierunkowskazy w BMW są zbędne, to kierownica też może odejść w niepamięć. Bawarczycy wymyślają jej koło na nowo i ono wcale nie będzie okrągłe. Nie będzie nawet przypominało rozwiązań Tesli czy Toyoty.

Tak Tesli i Toyoty, bo przypomnimy, że niedługo po tym, jak w odświeżonych Modelach S i X pokazano yoke i zanim Elon Musk zapowiedział, że nie będzie to element wyposażenia dodatkowego, a podstawowy manipulator, Toyota pokazała model bZ4X, w którym też może się pojawić podobne rozwiązanie, ale tym razem opcjonalnie.
BMW póki co nic nie zapowiada, ale na wszelki wypadek patentuje takie coś:

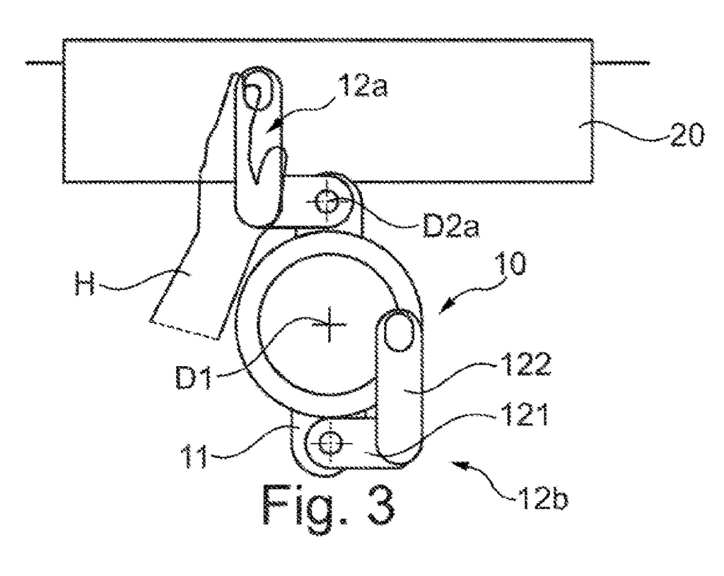
Dobra, tutaj to jeszcze wygląda w miarę wolantowo, lepszy będzie ten rysunek:

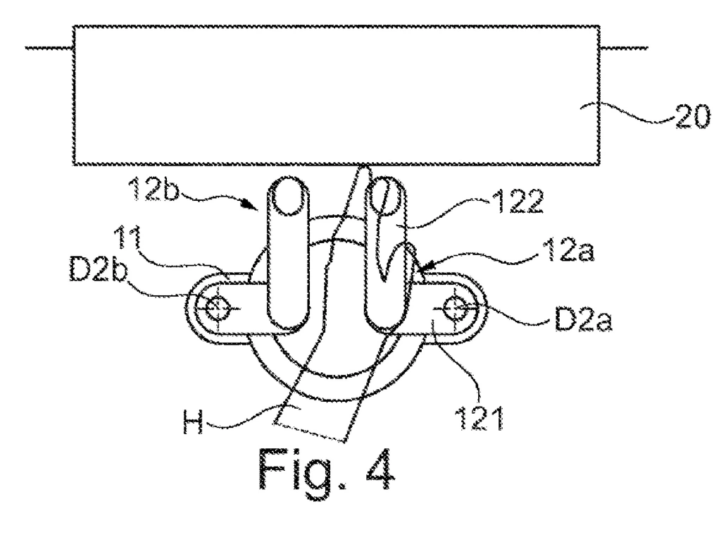
Albo ten:

Pochodzą one z wniosku patentowego, który niemiecki producentów złożył w biurze patentowym w Stanach Zjednoczonych, ale podobno takie same trafiły również do biur w Niemczech i w Chinach.
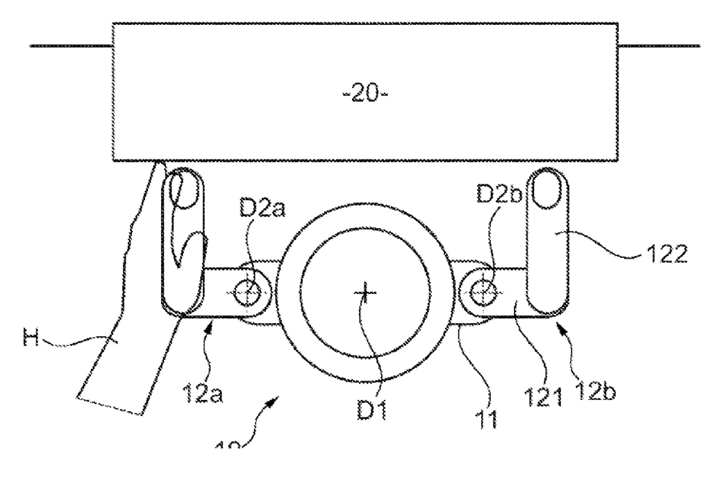
Ma to być rozwiązanie, którego głównym zadaniem będzie nie przeszkadzać kierowcy
BMW przygotowuje się na ewentualność, w której każdy będzie chciał być wożony, a prowadzenie samochodu będzie ostatecznością. Od trzeciego poziomu autonomiczności, odpowiedzialność za prowadzenie auta w trybie jazdy autonomicznej spada na sztuczną inteligencję, kierowca może się zająć czymkolwiek, a prowadził będzie wyłącznie gdy poprosi o to elektronika. Kierownica przez większość czasu tylko by mu przeszkadzała, trzeba ją więc zmniejszyć, by siedzący na lewym fotelu kierowcopasażer mógł wyciągnąć przed siebie gazetę, książkę, czy inny tablet.
Rozwiązanie BMW ma więc z założenia oszczędzać przestrzeń i pozwalać kierowcy prowadzić tylko na krótki czas. Mają do tego służyć chwyty, wyglądające trochę jak rogi na rowerowej kierownicy. O ile jednak w rowerze te rogi zamontowane są na stałe, w BMW mają się obracać tak, by podczas korzystania z nich kierowca miał zawsze ręce ułożone pionowo – kciukami do góry, niezależnie od tego, jak bardzo skręca kierownicę. Co więcej, sam wolant nie będzie fizycznie połączony z kołami, więc w trybie jazdy autonomicznej nie będzie podążał za ruchem kół, żeby nie strząsnąć leżącego na nim tabletu. Wizualizację jak to rozwiązanie mogłoby wyglądać, przygotował serwis Carbuzz.

BMW zaznacza, że wolant zaprojektowano tak, by kierujący mógł go obsługiwać jedną ręką – w końcu w drugiej nadal będzie miał książkę, czy coś.
Dobrze wiedzieć, że BMW wychodzi coraz bardziej naprzeciw potrzebom swoich klientów. Skoro nie korzystają z kierunkowskazów, to można założyć, że za jakiś czas zbędna okaże się również kierownica. Hasło Radość z jazdy zyska zupełnie nowe znaczenie.







































